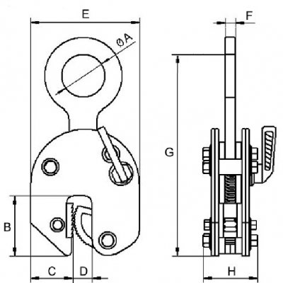
Cleşte de tabla universală tip QC-A
Utilizare: ridicarea si transportul in pozitie verticala si orizontala a tablelor de otel
|
Portanţa kg |
Dimensiuni mm |
Greut. kg | |||||||
|---|---|---|---|---|---|---|---|---|---|
|
A |
B |
C |
D |
E |
F |
G |
H | ||
|
500 |
30 |
43 |
34,5 |
0-15 |
103 |
10 |
212 |
36 |
1,5 |
|
1000 |
48 |
63 |
51 |
0-20 |
138 |
12 |
294 |
50 |
3 |
|
2000 |
68 |
76 |
59 |
0-25 |
164 |
16 |
370 |
52 |
7 |
|
3000 |
74 |
85 |
56 |
0-30 |
193 |
20 |
418 |
78 |
15,5 |
|
5000 |
80 |
90 |
65 |
0-52 |
240 |
22 |
450 |
88 |
19 |
|
8000 |
80 |
175 |
80 |
40-80 |
345 |
25 |
568 |
100 |
40 |


