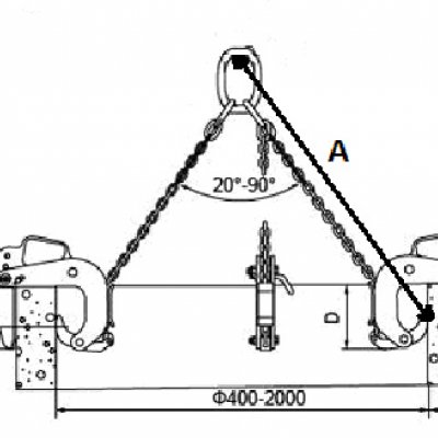
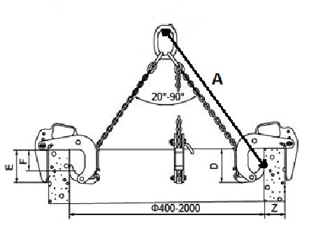
Cleşte pentru tuburi de beton DIN 4034
|
TIP |
Portanţa
|
Lanţ Ø x lungime |
Dimensiuni (mm) |
Greut Kg/buc | ||||
|---|---|---|---|---|---|---|---|---|
|
WLL/To |
A |
D |
E |
F |
Z | |||
|
1,5/120 |
1,5 |
8mmx1,5m |
2000 |
180 |
165 |
100 |
40-120 |
13 |
|
3/180 |
3 |
10mmx1,5m |
2000 |
310 |
245 |
175 |
50-180 |
19 |
|
3/220 |
3 |
10mmx1,5m |
2000 |
310 |
245 |
175 |
90-220 |
26 |


